Recommended Test System Grounding

Originally published in the June 2009 edition of AP's Audio.TST electronic newsletter.

Question:

What kind of grounding is best to use between the various devices in my test system?

Answer:

When integrating instruments, accessories, and DUTs (devices under test) into a test and measurement system, observing good grounding practice is always important in achieving optimal measurement results. Small ground potential differences between devices in the test system (such as switchers, accessories, the DUT, and the test instrument) can couple into the signal path and cause undesirable interference or noise due to the inherent stray capacitance between signal conductors and the chassis. To prevent this problem, Audio Precision strongly recommends connecting the chassis ground of each device directly to the ground of the test instrument via wires having as low an impedance as possible. This technique is often referred to as “ground bonding” or “chassis bonding.”

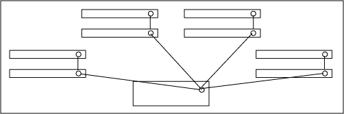
Star Grounding

The most effective grounding arrangement for multiple devices is “star grounding,” where each device in the system is connected to the measurement instrument ground via a separate grounding wire.

Bus Grounding

We do not recommend bus grounding (daisy chaining), where several devices are serially connected to a low-impedance conductor called a “ground bus.” The resistance in each leg of the chain puts the devices at different ground potentials, and is not as effective as star grounding.

Combination Star/Bus Grounding

When the serial links are very short, the combination star/bus grounding configuration can simplify connections while providing good grounding performance.

CAB-BOND Kit

The CAB-BOND kit, available from Audio Precision, provides the parts required for a star ground connection to one device, or a combination star/bus ground connection to two devices. For more devices, additional CAB-BOND kits may be ordered. Included are two ground cables, 20.5” (52 cm) and 4.25” (11 cm) in length, sized to connect one or two SWR-2755 switchers to an AP analyzer.

Making Grounding Cables

Alternatively, you can make your own ground cables. These must be very low-impedance, heavy gauge copper wire, as short as possible for the application, and terminated with large surface area low-impedance spade lugs. If the lugs are a crimp type, make sure to use the proper crimping tool to ensure a secure, gas-tight connection. Fasten the one end of the lug to the switcher with a large, truss head screw. Attach the other end to one of the ground posts on the front of the analyzer.

Other Grounding Techniques

Our older SWR-2122 and SWR-122 switchers do not have a place for a grounding screw on the chassis. These units, however, are grounded through the power line, which is normally sufficient. If they are rack mounted, you can provide additional grounding through the rack. Make sure that the entire ground path is continuous by removing paint under the rack screws and rack ears as needed—the larger the contact surface, the better. If a good rack ground is not available, and additional grounding is needed, a hole may be added on the side of the switcher to add a grounding screw. Before doing this however, hold the loose end of a ground cable against the chassis and measure the noise. Sometimes having multiple grounds can cause ground loops that make noise worse instead of better.